業訊息
公布時:2025-09-12 16:23:16 搜索:35
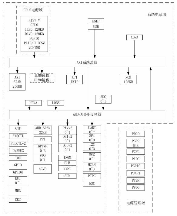
HPM5E31IPB是先楫半導(HPMicro)上線的五款高穩定性、工業生產級的 RISC-V MCU,主耍朝向時時掌握、EtherCAT 從站、化工業通訊等APP情境。HPM5E31IPB源于單線程 32 位 RISC-V 解決器,主頻到達 480MHz,應具很多的外設接頭和較可以的實時交通效果。
基本基本參數
CPU:單核心 32 位 RISC-V,主頻 480MHz
Flash:1MB 默認設置 Flash
RAM:544KB(還包括 ILM/DLM/SRAM)
工作上交流電壓:3.0V ~ 3.6V
二極管封裝:14×14 100eLQFP 0.5P
溫濕度領域:工業品級,?40°C ~ 125°C(Tj)/ ?40°C ~ 105°C(Ta)

外設數據接口:
EtherCAT 從站調節器(2 表層)
千兆以太網
CAN FD×4
USB HS(帶 PHY)×1
PWM:2×8 緩沖區
ADC:5×32 位
QEI/QEO:各 2 組
隨機器:9 個
安全的的基本特征:安全的的再啟動、JTAG 保護、實時路況碼文件加密執行工作
適用層面:
該集成塊多方面主要用于工業智能化、EtherCAT 從站機 、溝通傳感器等3d場景。以有各個慧強開發管理板依托于 HPM5E31IPB 的設計,如:
HPM5E31-KIT:支持系統 EtherCAT、USB、CAN 等,的使用樹莓派 40PIN 產生 IO。
LuckyCAT 制作板:板載 OLED、EtherCAT、USB、JTAG、40PIN 映射接口類型。
HPM5E-EC-DEV:融合 EtherCAT、千兆網、LCD、蜂鳴器、CAN、USB OTG 等,實用功能印證建立健全。
珠海市立維創展科技創新有現企業代營銷先楫32位MCU護膚品,并提供數據薄厚件技術工藝能夠。青睞了解。
上一篇: ?PADAUK應廣單片機的發展史