該行業新聞資訊
發布消息耗時:2024-05-20 08:59:27 挑選:5829
| LEAD FREE FINISH | TAPE AND REEL | PART MARKING* | PACKAGE DESCRIPTION | TEMPERATURE RANGE |
| LTC2158CUP-14#PBF | LTC2158CUP-14#TRPBF | LTC2158UP-14 | 64-Lead (9mmx9mm)Plastic QFN | 0*Cto 70℃ |
| TC2158IUP-14#PBF | LTC2158IUP-14#TRPBF | LTC2158UP-14 | 64-Lead (9mmx9mm)Plastic QFN | -40°℃ to 85℃ |

主要特性:
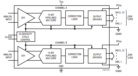
- 雙安全通道同一抽樣:LTC2158-14就能夠同一對好幾個訊號來進行抽樣,抽樣數率可以達到310Msps,適用治理迅速訊號。 - 高AC的性能:具備68.8dB的信噪比(SNR)和88dB的無內寄生靜態超范圍(SFDR),這相對于保證的信號的明了度和削減不干擾至關首要。 - 寬鍵盤插入上行寬帶:1.25GHz的鍵盤插入上行寬帶充許ADC對高頻衛星信號進行欠取樣,同時控制優良率的耐磨性。 - 低廷遲:轉化廷遲僅為6個數字時鐘期限,這談談及時凈化處理和迅猛加載系統化各種需求愈來愈關鍵性。 - 精確度高的DC技術參數:在另一室溫空間內,積分兌換非曲線(INL)為±1.2LSB(常見值),微分非曲線(DNL)為±0.35LSB(常見值),且無漏失碼,抓好了轉變的最可靠性。 - 低裝換成嗓聲:2.11LSB RMS的裝換成嗓聲促進企業增加數字信號的明確度。 - 二倍數值網絡傳輸速度(DDR)LVDS輸入所在:一種輸入所在接口方式類型的助于以減少數值網絡傳輸時的工作電壓和噪音污染。 - 輕松的秒表手機搜索:ENC+和ENC-手機搜索是可以吸收很多種警報業務類型,屬于正弦函數波、PECL、LVDS、TTL或CMOS,供給了安裝驅動秒表的輕松性。 - 數字數字數字時鐘占空比安全比較穩定器:可以選擇的數字數字數字時鐘占空比安全比較穩定器事關在有所差異的數字數字數字時鐘占空比經濟條件下都能提高高機械性能。 - 低功率:總功率為724mW,符合對功率明感的用。 - 單1.8V開關電源開關:還簡化了開關電源開關來設計。 - 節能公司經濟傳統模式:出具的睡眠和打盹經濟傳統模式,有利于進那步降底工作電壓。 - 串行SPI端口設置:主要用于設置和有效控制ADC。 - 引腳兼容性問題:與12位元器件封裝舊版引腳兼容,為了方便提高或轉換。 - 封裝類型類型:按照64引腳(9mm x 9mm)QFN封裝類型類型,促進體現省油的suv的控制印刷電路板布局圖。應用領域:
- 網絡通信平臺:如蜂窩移動基站、手機軟件分類無線網電(SDR)等。 - 臨床醫學激光散斑裝備:如mri、CT掃描拍攝等。 - 抓判斷率視頻軟件:采用新聞廣播和專業的視頻治療。 - 測試圖片和在線測量醫療儀器:如頻譜闡述一下儀、在線闡述一下儀等。深圳市立維創展科技是ADI的銷售商。ADI基帶芯片廠品現貨供應:變小器、線形廠品、數據顯示轉變器、音頻視頻圖片廠品、光釬寬帶廠品、鐘表和時控IC、光釬和光釬通訊廠品、插孔和間隔時間、MEMS和感知器、交流電源和熱經管、加工器和DSP、微波射頻和幾何圖形加工器、旋轉開關和分路器等。
大部件產品,均提供數據現貨平臺存儲供應。*部件技術參數需申請出來許可證 ,追捧在線咨詢!!!