制造行業快訊
發布公告時:2025-01-06 15:57:57 預覽:693
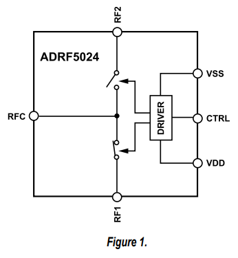
ADRF5024是種便用硅的工藝工藝的散射式單極雙擲(SPDT)觸點開關。概率位置為100 MHz至44 GHz,復制到耗率要高于1.7 dB,防護隔離度為35 dB。ADRF5024配備27dBm的頻射(RF)載荷系數耗油率除理速率,技術應用于直連方式和殷切換。
ADRF5024在+3.3 V的正供電上耗用14μa的低電流量,在-3.3 V的負交流電源上損耗率120μa的電流量。ADRF5024的使用互補式式不銹鋼氧化的物光電器件(CMOS)/壓差大多多晶體管對多多晶體管思維邏輯(LVTTL)兼容的控制電腦。
ADRF5024與ADRF5025中速率結束型號管腳兼容,其速率范圍圖為9 kHz至44 GHz。
ADRF5024rf射頻表層常使用于自適應50?的優點基本特性阻抗。專門針對超長頻任務,微波射頻數據分析線上渠道的識別功率電阻就可以進步進一步完善低頻帶寬度插進消耗費和回波消耗費優點。
ADRF5024利用2.25 mm×2.25 mm、12接線端子排、需要滿足RoHS規定化的焊層柵格陣列(LGA)封口,并能在-40°C至+105°C之間任務。

本質特征
?寬度經常率范圍之內:100 MHz至44 GHz
?反射性光開發
?配對內阻的低復制損耗量
?18 GHz的標稱參考值1.0 dB
?40 GHz的標稱數值1.4 dB
?44 GHz的標稱值一般選擇1.7 dB
?無配對內阻的低插進消耗
?18 GHz的標稱指標值0.9 dB
?40 GHz的標稱數值為1.7 dB
?44 GHz的標稱數值2.1 dB
?復制粘貼線形值高
?P1dB:27.5 dBm標稱值
?IP3:50 dBm標稱值
?高rf射頻固定瓦數清理
?直通車線路圖:27 dBm
?殷切換:27 dBm
?無超低頻高壓發生器率雜散
?頻射焊接生產精力(從50%VCTRL到最后一個rf射頻效果0.1 dB):17 ns
?12接線端子,2.25 mm×2.25 mmLGA裝封
?管腳與ADRF5025高頻率截止期版本的兼容
運用
?化工閱讀器
?檢測和工做
?蜂窩狀基礎上措施發展:5G厘米波
?中國軍工用wifi通訊網絡、雷達試探試探、通訊網絡對戰任務(ECM)
?微波加熱wifi手機電力和甚豁口徑設備(VSAT)
山東市立維創展科枝是ADI \ Linear 的代商,以代二級分銷貨存現貨交易ADI \ Linear為車輛好處,可供給當天打包發貨服務保障,歡迎語詳詢。
上一篇: 高速模數轉換器ADC時鐘極性與啟動時間
下一篇: ?QorIQ?T1042多核處理器