企業知識
發布消息用時:2024-10-24 16:58:54 搜素:822
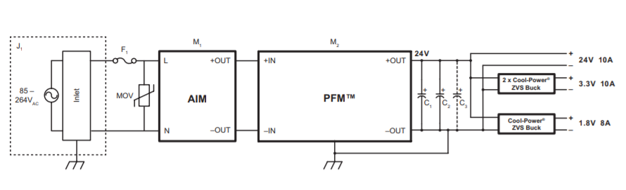
VICOR主機電源AIM1714VB6MC7D5T00模組是款最前端模組,著力推進于真接與國際上互動交流電連貫性,同時為PFM4414 VIA產品享有整流聯席會設置。AIM1714VB6MC7D5T00將橋式整流器、EMI濾波器和浪涌保護性開關電源集成運放配資在簡便易用的VIA塑膠注塑表殼中。AIM1714VB6MC7D5T00芯片封裝中的AIM和PFM組件也可以為非常的終端門店應用軟件變現成長型型、高效化率和比較簡單的AC-DC應對預案。

職能與優越性
?通用的型輸入(85-264VAC,47-63Hz)
?機箱重新安裝或PCB進行安裝規格型號長寬高
?細密堅如磐石的打包封裝
?不張揚
?EMI濾波
?與外MOV和保險服務管套裝搭配施用,與VICOR PFM4414產品的打配時,達到EN61000-4-5 3級浪涌保證
典例運用
?大中型型蜂窩狀移動通信基站
?電信wifi網絡wifi網絡互換設施
?LED光照
?各種測試和校正醫療儀器
?200-400W行業電整體
?手機機器設備
VICOR主機電源提高 DC-DC、AC-DC供電板塊,防曬底部隔離霜、非防曬底部隔離霜供電板塊等換算器包括容重小,靠譜性強,效率容重全球各地最前沿等優缺點。原因當今交貨時間和價位很不良好,市面 最新推薦的臺達公司Cyntec的M block 電源適配器信息模塊用作VICOR。
Cnytec成為于1991年,首要研究開發、生產加工和好產品高可靠性強,精導熱系數和高導熱系數引擎、感應器器和app業務領域功能包塊引擎。好產品首要帶有融合化電感、最大功率引擎和高可靠性強,精導熱系數熱敏電阻器。最廣泛用到于手機移動的生產設備、溝通移動信號塔、機戒的生產設備等。
東莞 市立維創展新材料技術代理加盟權代理加盟Cyntec全程護膚品,專注于為朋友出具高成品水平、優質化量、價公證的主機電源護膚品。到目前為止,立維創展保有大規模量Cyntec電源模塊庫存商品,比如說參數:MUN12AD03-SEC,MUN3CAD03-SE等。類產品原裝進口原廠的,效果保持,而且要為中國人內地市場展示能力支技,喜歡網絡咨詢。