這個行業介紹
上線日子:2025-08-19 16:41:10 查看:9
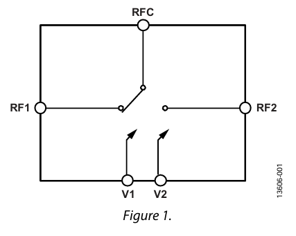
HMC986A是Analog Devices(ADI)還推出的一個由于砷化鎵(GaAs)單支徽波智能家居控制三極管(MMIC)的工藝方法反射面式單刀雙擲電開關(SPDT)。HMC986A憑著其優等的耐磨性,專業專注于滿意 0.1 GHz 至 50 GHz 一項超大帶頻段比率內的微波射頻/徽波使用的的需求而設計構思。
要點性能
規律領域:0.1 GHz – 50 GHz
加入損耗率:2.3 dB(50 GHz 其最典型的值)
隔離度:30 dB(50 GHz 類型值)
P1dB:28 dBm
IP3:40 dBm
電率處置使用率(經由相對路徑): 27 dBm
操控方法論思維:負方法論思維,?5 V 至?3 V
封裝形式:裸集成塊(0.98 mm × 0.75 mm × 0.1 mm)

技巧其優勢
低頻使用性能最前沿
l 在50 GHz頻段照樣恢復低消耗(2.3 dB)和高防護隔離(30 dB),遠超常規打開的30 GHz已達,不適代替Ka中波段遙感衛星網絡通訊、5Gmm毫米波(mmWave)及太赫茲(THz)原形查證。
耗油率與波形度不平衡量
l 28 dBm的P1dB和40 dBm的IP3,兼容高耗油率試射路由協議(如雷達探測網頁前端)或高機靈度發送路由協議(如電子廠戰發送器),避開表現縮短或互調會影響。
在短時間加載與調節配合性
l 11 ns打開傳輸速率實現動圖頻譜分配原則供給,負思維模式把握額定電壓(-5 V至-3 V)兼容總數系統化,需不需要減半電平換為電源電路。
非常典型廣泛應用的場景
考試醫療儀器儀器:看作微波射頻預警路由旋鈕,兼容頻譜解析儀、線上解析儀的不定口考試。
軍工用無限無線通信網絡與汽車雷達:適用性于定向天線陣列開啟、射出/發收(T/R)操縱模塊操縱,從而提高系統化穩定性能。
聯通寬帶電信網系統的:在5G手機信號塔中做到多頻段手機信號合在一起或截流,改善頻譜靈活運用率。
智能電子對峙(ECM):迅速切回干攏電磁波根目錄,增加抗擊分工協作性。
佛山市立維創展網絡是ADI的分銷系統商,基本具備調小器、線性網絡產品、數據文件改變器、音頻系統播放產品、光纖寬帶產品、鬧鐘和延時IC、光釬微波通信新產品、數據接口和每隔、MEMS和傳調節器器、電和熱經管、處里器和DSP、rf射頻和圖案處置器、旋鈕和分攤器等,設備原廠現貨黃金,多少錢優越性,熱烈歡迎諮詢。
上一篇: 高速模數轉換器ADC時鐘極性與啟動時間