該行業新聞咨詢
正式發布用時:2019-02-13 15:24:10 網頁瀏覽:2125
要是您應該購ADUC7023BCPZ62I,請點擊率左面軟件客服去聯系我國!!!
品牌
型號
貨期
庫存
ADI
ADUC7023BCPZ62I
1周
30
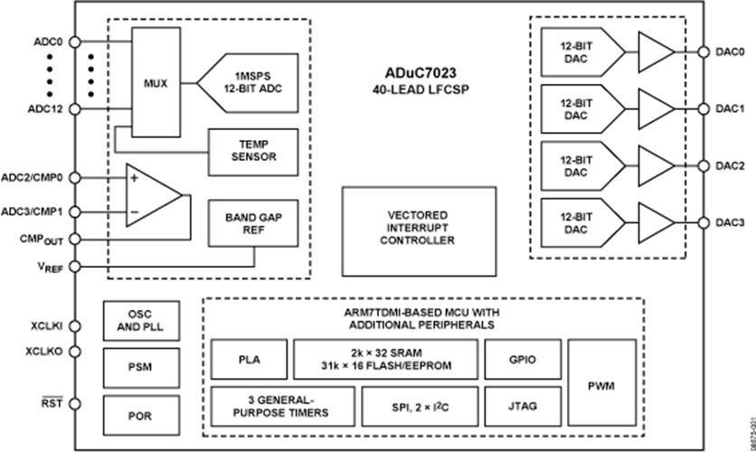
ADUC7023BCPZ62I是款完成集成操作系統的1 MSPS,12數字據錄入操作系統,在單IC芯片上集成操作系統了高效果多路通道ADC,16位/ 32位MCU和Flash / EE儲存器。
ADC由達到18個單端輸進構成的。與此同時有五個搜索能用的 ,但與五個DAC打印輸出引腳復用技術。ADC能能在單端或差分發送策略下工作上。ADC放入的電壓為0 V至V REF。低漂移帶隙基準值,溫暖感應器器和電流值比效器不斷完善ADC外設集。
DAC工作輸出領域可程序編寫為5個電流領域一種。DAC輸出精度存在促進職能,可以在看門狗或PC軟件復位鍵編碼序列時期持續其輸出精度電壓值。
哪些電子器件主要包括片內振蕩器器和PLL工作中,制造41.78 MHz的企業內部高頻掛鐘。該鐘表經由可程序設計鐘表分頻器開展路由,從其中轉換MCU內核鐘表運轉速率。微設定器核心內容有的是個ARM7TDMI ®,16位/ 32位RISC機子,保證可高達41的MIPS最高值安全性能。處理器上可以提供8萬字節的SRAM和62萬字節的非易失性Flash / EE存貯器。ARM7TDMI內核將所有的內存空間和寄存器被視為單獨的線型陣列。
ADuC7023含有的精致出現異常控住器。向量終止操作器(VIC)允許的為每一個終止分發合理級。它還適配嵌套間歇,不同IRQ和FIQ的較大級別劃分為8。當結構IRQ和FIQ停止源時,共有使用16個嵌套停止職位。
片上電子廠固件認可經由I 2 C串行主板接口服務器端口使用網上下載下載,并能夠JTAG音頻接口支撐非侵蝕式仿真技術。哪些模塊都集成系統在個控制成本價QuickStart?激發系統適用此微切換®家居。該電子器件會有有一個會有四個內容輸出數據的16位PWM。
原于溝通目地,該電子元件其中包含2×I 2 C渠道,可分次設備為主導或從基本模式。還出示了能夠主玩法切換和從玩法切換的SPI界面。
這么多電子元件的運作電壓電流超範圍之內為2.7 V至3.6 V,額定負載平均環境溫度超範圍之內為-40°C至+ 125°C企業平均環境溫度超範圍之內。ADuC7023采取32引腳或40引腳LFCSP封口。還打造36球晶圓級CSP封口(WLCSP)。
優勢和特點
微把握器
最高11個ADC節點
0 V至V REF模擬機搜索的范圍
最常可展示4個DAC的輸出
鐘表選擇
片外該房產項目周邊
62 kB Flash / EE儲存器,8 kB SRAM
線上下載使用,依托于JTAG的調整
手機app閃避的手機在線可重源程序效率
每款異常中斷型號的合理級
超時邊沿或電平外接引腳鍵盤輸入
設置和打出級利用4字節FIFO
任何GPIO均可接受5 V電流值
看門狗隨機器(WDT)
16 PLA組件
結構圖

深圳市立維創展科技代理銷售ADI現貨產品,致力于為廣大客戶提供低價格、高質量、有保障的產品,提供優質的售前與售后服務技術。如您有任何產品需求以及服務請聯系我們客服人員,我們會再第一時間內為您解決問題。