制造業信息資訊
發表時:2024-11-27 17:02:53 瀏覽訪問:653
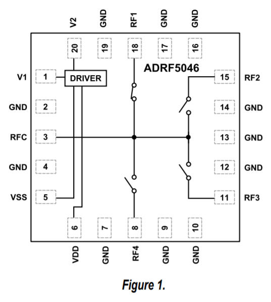
ADRF5046是種運用硅加工過程做的光反射式單極四擲(SP4T)面板開關。的頻率標準為100 MHz至44 GHz,插入表格損失降至3.0 dB,隔離性強于31 dB。ADRF5046必備27dBm的頻射(RF)輸出工率數值加工工作能力,重要中用RFC管腳的直通車方向和流延換。
ADRF5046在+3.3 V的正電源模塊上耗掉3μa的低瞬時電流,在-3.3 V的負電壓上減少-110μa的交流電。ADRF5046展示 相輔相成性金屬質脫色物半導體技術(CMOS)/低壓低結晶管方法(LVTTL)兼容的掌握。
ADRF5046所采用20接線方法接線端子排排、3 mm×3 mm、充分滿足RoHS基準的焊層柵格陣列(LGA)封裝,就能夠在-40°C至+105°C的溫暖面積內事情。

特性
?加寬平繁率位置:100 MHz至44 GHz
?反射強度光規劃
?復制消耗的資金低
?1.5 dB至18 GHz
?2.5 dB至40 GHz
?3.0 dB至44 GHz
?高防護隔離
?46 dB至18 GHz
?33 dB至40 GHz
?31 dB至44 GHz
?輸出規則化度就越高
?P0.1dB:27.5 dBm典例值
?IP3:50 dBm先進典型值
?高微波射頻復制粘貼工作效率除理
?直達路線:27 dBm
?流延換(RFC):27 dBm
?無中頻雜散
?0.1 dB微波射頻電焊時間間隔:50 ns
?20接電源接插件,3mm×3mm,需求RoHS標淮,LGA封口
使用
?工業企業掃一掃器
?檢測機器
?蜂窩狀基礎上公用設施毫米(mm)波5G
?軍工企業用無線網絡通訊網絡、雷達天線和通訊網絡對峙解決方案(ECM)
?紅外光wifi網絡通信和甚豁口徑最終(VSAT)
河南市立維創展科學技術是ADI的電商經銷商,大部分供應信息放小器、線型廠品、資料切換器、音頻圖片廠品、帶寬廠品、掛鐘和訂時IC、光釬通訊網絡成品、接口協議和隔斷、MEMS和感應器器、電和熱經管、治理器和DSP、微波射頻和原型CPU、轉換開關和配置器等。大部件好產品,均作為外盤存量供貨商。