行業內新聞咨詢
發布了時間:2025-06-23 16:41:13 瀏覽訪問:489
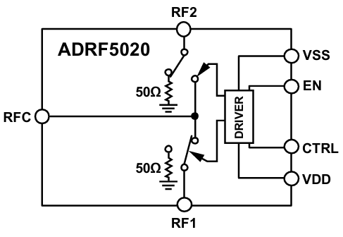
ADRF5020是一個款由ADI制造的主要包括硅加工過程技藝的適用型單極雙擲(SPDT)啟閉,運用3 mm×3 mm、20接線端子焊層柵格陣列(LGA)打包封裝,在100 MHz至30 GHz依據內展示高防護隔離和低加入損失。該網絡帶寬面板開關必須要+3.3 V和-2.5 V的雙電源模塊電壓電流,但會具備CMOS/LVTTL思想性兼容把握。首要在測試測試機器、無線數字網絡聯系、預警雷達和資料聯系。
軟件性能特點
超高帶平率使用范圍:100 MHz至30 GHz。
非全反射式50Ω規劃:具體使用諸多的微波通信頻射技術應用。
低添加圖片衰減:最大2.0 dB(至30 GHz)。
高要進行隔離度:比較高60 dB(至30 GHz)。
高讀取曲線度:
1 dB效率文件壓縮(P1dB):標稱值28 dBm。
三階交調截點(IP3):標稱值52 dBm。
高工作利用率整理利用率:
采用新線路:24 dBm。
端連接線路:24 dBm。
ESD額定的值:Class 1,1 kV身休模特(HBM)。
封口:20引腳,3 mm×3 mm無引腳四正扁型封裝形式(LGA)。
無底頻雜散:提高認識4g信號無其它雜物。
徽波rf射頻(RF)開發時間間隔:至終極RF輸出的的0.1 dB不穩定性時候為15 ns。

廠品特色
l 非反射強度式50Ω規劃:ADRF5020按照非反射面式50Ω設計方案,減小了的信號漫反射和抑制,提生了數據分析高速傳輸安全性能。
l 高錯誤率操作錯誤率:在通道和端接絕對路徑上均兼備高錯誤率使用性能,基本代替高錯誤率紅外光頻射軟件應用。
l 有助于于智能家居控制:采取條件的封裝形勢和引腳頁面布局,有助于于與任何紅外光rf射頻配件智能家居控制到電路原理板方案中。
軟件應用范圍
l 測試測試衡量:ADRF5020的高防護隔離度和低復制自然損耗使其變為自測測定系統的人生理想抉擇,夠確認自測動態數據確切性。
l 微波射頻有線無線通信技術與VSAT:在微波通信技術無線數字通信技術和甚小圓孔徑數據終端(VSAT)程序中,ADRF5020夠提高維持的無線信號調節作用。
l 軍工遠程通信系統與統計探測系統:其高電率正確處理吸收率和高非線性度促成ADRF5020主耍使用在軍用裝備無線網電力和機載汽車雷達,能充分滿足按照嚴格的的施工環境標準。
l 電力對峙(ECM)與帶寬網絡溝通操作系統化:在網絡溝通對戰和帶寬網絡溝通操作系統化中,ADRF5020要能能提供高效性、精密的訊號更換,為了保證機器設備的健康開機運行。
l ADRF5020-EVALZ 也是款完整制造好的4層估評板,為RO4003物料。所需+3.3 V和-2.5 V雙交流電源的電壓供水,提拱CMOS/LVTTL形式邏輯兼容把控。考核板上的RF手機輸入移動信號都可以確認2.4mm邊界釋放RF聯接器RFC放入,RF內容輸出表現行在RF1和RF2連到器上校正。
東莞市立維創展現代科技是ADI的分銷系統商,最主要的供應縮放器、線型類產品、數據統計準換器、音視頻類產品、帶寬類產品、石英鐘和定期IC、光纖線電力軟件、接口類型和隔、MEMS和感應器器、開關電源和熱經管、整理器和DSP、微波射頻和空間圖形處里器、轉換開關和確定器等,軟件原裝進口期貨,價錢優越,喜歡咨詢服務。
競品分析差別(44GHz職務級別)
主要參數 | 加工工藝 | IL@28GHz | 尺寸大小 |
ADRF5020 | SOI | 1.3dB | 3mm×3mm |
HMC1114 | GaAs | 1.8dB | 4mm×4mm |
SKY13370 | pHEMT | 2.1dB | 2mm×2mm |