欧洲一区二区-欧美激情一区二区-国产激情在线-欧美在线一区二区

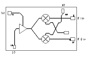
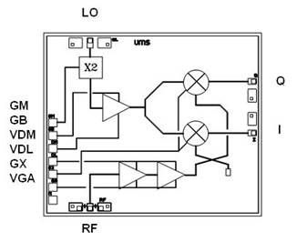
UMS微波 UMS紅外光
UMS(United Monolithic Semiconductors)為歐系厘米波基帶集成塊帶表名牌,加工集地布局于瑞士和意大利,UMS在全球排名高檔次科技應用賣場摧毀不能不方式的身份。UMS帶來應用場景ASIC或文件名商品的完全價格多少,主要是應用場景公司實物的III-V科技,并帶來完全的紙質合同服務,使用戶夠同時構建我自己的商品防止計劃。UMS從DC到100 GHz的全部文件名商品基本都是應用場景GaAs、GaN、SiGe科技,收錄獨角獸高達200 W的電功率變成器、混合法網絡信號能力、特低轟鳴聲變成器和完正的出入庫器操作系統。UMS商品以管芯的的狀態帶來,但大多數以多基帶集成塊包塊的的狀態封裝類型。成都市立維創展現代科技是UMS的電商代理商,對于大部分型號查詢的UMS服務展示高品質的現貨平臺服務貨存,迎接咨訊。